Water Motor Gong
Water Motor Gong Definition and Components
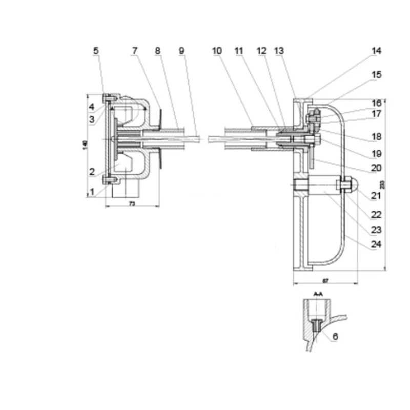
A Water Motor Gong (Hydraulic Alarm Bell) is a purely mechanical audible alarm device used in fire protection systems. It produces a loud, distinctive ringing sound when water flows through it, activated by water pressure from sprinkler system operation. It requires no electricity to function.
Main Components:
①Gong Housing/Casing: The outer shell that contains all internal parts and protects them from the environment. Typically made of corrosion-resistant metal with a drain hole.
②Water Turbine (Impeller or Pelton Wheel): The core driving component. Pressurized water from the alarm line strikes the blades or buckets of this turbine, causing it to spin rapidly.
③Drive Shaft: Connects the turbine to the hammer mechanism, transmitting the rotational force.
④Hammer Assembly: Converts the rotational motion into a striking action. It consists of:
Hammer Head: The weighted part that physically strikes the gong bell.
Eccentric Cam or Trip Mechanism: Attached to the drive shaft, this mechanism lifts and releases the hammer head with each rotation.
⑤Gong Bell: A tuned, resonant metal bell (usually brass or aluminum) that is struck by the hammer to produce the audible alarm signal.
⑥Inlet Connection: The threaded or flanged port where the alarm water line from the alarm valve connects.
⑦Outlet/Drain Connection: The discharge port for water after it has passed through the turbine.
Role, Characteristics, and Application Scenarios of Water Motor Gong in Pipelines
Fire Valves Functions in Pipelines:
- Local Audible Alarm: Provides an unmistakable, loud mechanical ringing at the location of the fire alarm valve (often in a stairwell, riser room, or outside the building) to alert building occupants and responders that the sprinkler system has activated.
- Mechanical Verification: Serves as a direct, non-electrical confirmation that water is actually flowing in the alarm line, verifying the operation of the alarm valve.
- Backup Alarm: Functions independently of electrical power or control panels, providing a fail-safe alarm.
Operational Features:
- Purely Hydraulic/Mechanical: No electrical connections, batteries, or external power required.
- Automatic Activation: Begins ringing as soon as sufficient water flow (typically 2-10 GPM / 8-38 LPM, depending on model) from the alarm valve reaches it.
- Continuous Operation: Rings continuously as long as water flows. Stops only when the water flow stops and the system is reset.
- High Sound Output: Designed to produce a minimum sound level (e.g., 70 dB at 10 ft / 3 m per NFPA standards) to be heard over ambient noise.
Fire Sprinkler Alarm Check Valve Application Scenarios:
- Used in conjunction with Wet, Dry, Preaction, and Deluge Alarm Valves in automatic fire sprinkler systems. It is a mandatory component of the alarm valve assembly.
- Location: Installed on the alarm line of the alarm valve, typically:
- In the fire riser room or sprinkler valve room.
- On an exterior wall where the sound can be heard.
- In a building stairwell.
Diagram: Integration with a Wet Alarm Valve
Water Motor Gong Standards: Materials, Design, and Connections
Design & Performance Standards:
- GB 5135.2-2019 (China): Specifies requirements for Water Motor Gongs as part of the alarm valve assembly (flow rates, sound levels).
- UL 753 (USA): Standard for Alarm Accessories for Automatic Water Supply Control Valves.
- NFPA 13 (USA): Standard for the Installation of Sprinkler Systems, references their installation and performance.
- EN 12259-1 (Europe): Fixed firefighting systems - Components for sprinkler and water spray systems.
Material Standards:
- Housing/Casing: Corrosion-resistant materials like bronze (C84400), brass, coated ductile iron, or stainless steel (e.g., SS304).
- Internal Mechanism (Turbine, Shaft, Hammer): Stainless steel, brass, or bronze for corrosion resistance and durability.
- Gong Bell: Brass or aluminum alloy for optimal sound resonance and corrosion resistance.
- Fasteners: Stainless steel.
Connection Standards:
- Threaded Connections: Most common. Standard sizes are 3/4" NPT (National Pipe Tapered) or 1" NPT (USA/International) or G3/4" / G1" (BSPT - Europe/Asia).
- Flanged Connections: Used for some specific or high-capacity models.
- The inlet/outlet sizes and threads must match the alarm line piping specified in the system design.
How to Select Water Motor Gong
Define Specifications:
- Connection Type & Size: (e.g., 3/4" NPT female inlet).
- Operating Pressure Range: Must be compatible with your system's alarm line pressure.
- Required Minimum Flow Rate: The GPM/LPM needed to start and sustain operation (per system design or standard).
- Sound Level Requirement: Minimum dB rating at a specified distance.
- Material Preference: Bronze, coated iron, etc.
- Certification: Required for the target market (CCCF for China, UL for USA/Canada, CE for Europe).
Source Suppliers:
- Fire Protection System Manufacturers: Often sell components separately (Tyco/Viking, Victaulic, Reliable, etc.).
- Specialized Component Suppliers: Companies that manufacture or distribute specific alarm devices.
- Check for Certification: Ensure the product model is listed/certified under the relevant standard (UL Listed, CCCF certified).
Procurement Process:
- Request datasheets and certification documentation.
- Provide a sample system diagram to ensure compatibility.
- Request a sample for testing if ordering in large volume.
- Clarify packaging, lead time, and Incoterms (FOB, CIF, etc.).
Pre-Shipment Inspection for Export Water Motor Gongand Key Considerations
Inspection Checklist:
- Visual & Dimensional Inspection:
- Check for defects in casting, machining, or plating/coating.
- Verify material markings on the housing/bell.
- Use thread gauges to verify inlet/outlet thread size and quality.
- Ensure the hammer moves freely and the bell is securely mounted.
Functional Test (If Possible):
- Connect to a test water supply.
- Apply water flow at the specified minimum rate. The gong should start ringing within seconds.
- Measure the sound level at a specified distance (e.g., 3 meters) using a sound level meter to verify it meets the datasheet claim.
- Observe that water drains freely from the outlet.
Documentation & Marking Check:
- Verify permanent markings: Manufacturer's name/model, inlet size, directional arrow (if any).
- Check for certification marks (UL logo, CCCF "S" label serial number).
- Review the packing list and ensure all documents (certificate of conformity, test report) are included.
Packaging Inspection:
- Each gong should be individually packaged in a plastic bag or bubble wrap with desiccant to prevent moisture/rust during transit.
- It should be securely placed in a sturdy carton or crate to prevent movement.
- The carton should be clearly marked with the model, quantity, and "Fragile" warnings.
Key Precautions for Export:
- Anti-Corrosion: After any functional wet testing, units must be COMPLETELY DRIED INTERNALLY using compressed air. Residual water will cause corrosion and freezing damage during shipping.
- Certification Compliance: Ensure the product has the correct certification marks for the destination country. Non-compliant products can be rejected at customs.
- Spare Parts/Components: Consider purchasing spare gong bells or hammer kits if the installation environment is harsh (e.g., coastal areas with salt air).
Water Motor Gong Material List





